钢板网机可调节刀模组件--百士特网机专利
专利名称:一种钢板网机可调节刀模组件
专利类型:实用新型
| 申请号 | CN202421711354.2 | 申请日 | 2024-07-19 |
| 授权公告号 | CN222919456U | 授权公告日 | 2025-05-30 |
|
优先权号
|
- |
优先权日
|
- |
| IPC分类号 | B21D28/34;B21D28/26;B21D28/04 | CPC分类号 | - |
| 专利类型 | 实用新型 | 受理局 | - |
| 简单法律状态 | 有效 | 法律状态 | 专利授权 |
| 申请(专利权)人 | 泰州市百士特精密机械制造有限公司 | 发明人 | 徐守平 |
| 地址 | 江苏省泰州市姜堰区三水街道淮海西路1199号 | 邮编 | 225599 |
|
代理机构
|
武汉谦源知识产权代理事务所(普通合伙) |
代理人
|
- |
摘要:
本实用新型涉一种钢板网机可调节刀模组件,包括上刀架、长方体型的上刀模、下刀模座和长方体型的下刀模,上刀模设置于上刀架的前侧,下刀模设置于下刀模座的前侧,上刀架的前侧下部设有沿左右方向延伸并与上刀模适配的第一安装槽,上刀模横向竖直设置,并通过第一间隙微调组件装于第一安装槽中,上刀模上端通过第一高度微调组件与上刀架连接,下刀模座的前侧上部设有沿左右方向延伸并与下刀模适配的第二安装槽,下刀架上安装有第一微调组件,下刀模通过压紧调节组件与下刀架连接。优点:能够在线调节上、下刀模之间的间隙,能控制网面的平整度,又能调节网孔短截距,能有效控制刀模在生产过程中因振动、冲击、温度影响而变形。
权利要求:
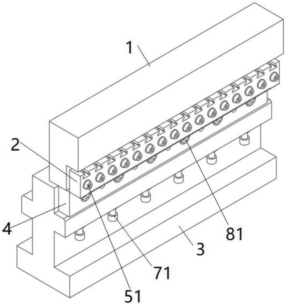
1.一种钢板网机可调节刀模组件,其特征在于:包括上刀架(1)、长方体型的上刀模(2)、下刀模座(3)和长方体型的下刀模(4),所述上刀架(1)和下刀模座(3)分别装于钢板网机上,且所述上刀架(1)位于所述下刀模座(3)的上方,所述上刀模(2)设置于所述上刀架(1)的前侧,所述下刀模(4)设置于所述下刀模座(3)的前侧,所述上刀架(1)的前侧下部设有沿左右方向延伸并与所述上刀模(2)适配的第一安装槽,所述上刀模(2)横向竖直设置,并通过第一间隙微调组件(5)装于所述第一安装槽中,所述上刀模(2)上端通过第一高度微调组件(6)与所述上刀架(1)连接,所述第一高度微调组件(6)用于调节所述上刀模(2)与所述上刀架(1)的前后间隙,所述下刀模座(3)的前侧上部设有沿左右方向延伸并与所述下刀模(4)适配的第二安装槽,所述下刀模座(3)上安装有用于向上顶起所述下刀模(4)的第一微调组件(7),所述下刀模(4)通过压紧调节组件(8)与所述下刀模座(3)连接。
2.根据权利要求1所述的一种钢板网机可调节刀模组件,其特征在于:所述第一间隙微调组件(5)包括多个上刀模压紧螺丝(51),所述上刀模(2)上沿左右方向间隔开有多个前后贯穿其的第一调节孔(21),所述第一调节孔(21)为竖向延伸的条形孔,所述第一安装槽侧壁设有多个与所述上刀模压紧螺丝(51)一一对应的第一螺孔,多个所述上刀模压紧螺丝(51)分别一一对应的穿过多个所述第一调节孔(21),并与对应的所述第一螺孔螺纹连接。
3.根据权利要求1所述的一种钢板网机可调节刀模组件,其特征在于:所述第一高度微调组件(6)包括多个竖向设置的上刀模调节螺杆(61),所述第一安装槽的顶壁沿左右方向间隔设有多个与所述上刀模调节螺杆(61)一一对应的第二螺孔,所述上刀模调节螺杆(61)的下端分别设有嵌合块,所述上刀模调节螺杆(61)上端与对应的所述第二螺孔螺纹连接,所述上刀模(2)的上端沿左右方向设有多个前后贯穿其的限位槽(22),多个所述嵌合块分别一一对应的嵌入多个所述限位槽(22)中,且可相对于所述限位槽(22)前后移动,从而配合所述第一间隙微调组件(5)调节所述上刀模(2)与第一安装槽侧壁之间的间隙,所述上刀模调节螺杆(61)上设有用于带动其旋转的扭力传递件(612)。
4.根据权利要求3所述的一种钢板网机可调节刀模组件,其特征在于:所述限位槽(22)为倒T形的槽,相应的所述嵌合块为扁平状的块状构件。
5.根据权利要求1所述的一种钢板网机可调节刀模组件,其特征在于:所述下刀模座(3)的前侧突出设有沿左右方向延伸的安装块,所述安装块与所述下刀模座(3)的前侧上部之间构成所述第二安装槽。
6.根据权利要求5所述的一种钢板网机可调节刀模组件,其特征在于:所述第一微调组件(7)包括多个下刀模调节螺杆(71),所述安装块中竖向设有多个沿左右方向间隔分布的第三螺孔,多个所述下刀模调节螺杆(71)分别自下而上一一对应的贯穿多个所述第三螺孔,并与所述第三螺孔螺纹连接,所述下刀模调节螺杆(71)的下端设有第二锁紧螺母(711),所述第二锁紧螺母(711)用于拧动至与所述安装块下端相抵或分离。
7.根据权利要求5所述的一种钢板网机可调节刀模组件,其特征在于:所述压紧调节组件(8)包括多个下刀模压紧螺丝(81),所述第二安装槽的侧壁上沿左右方向间隔设有多个第四螺孔,所述下刀模(4)上沿左右方向间隔设有多个前后贯穿其的安装通孔(411),多个所述下刀模压紧螺丝(81)分别沿前后方向一一对应的贯穿多个所述安装通孔(411),并分别一一对应的与所述第四螺孔螺纹连接,所述安装通孔(411)前端设为锥形,所述下刀模压紧螺丝(81)的后端设有锥状的嵌合部,所述嵌合部嵌入所述安装通孔(411)的前端。
8.根据权利要求7所述的一种钢板网机可调节刀模组件,其特征在于:所述下刀模(4)沿左右方向间隔设有多个前后贯穿其的第五螺孔,所述第五螺孔中分别一一对应的装有与其螺纹连接的紧定螺钉(9),所述紧定螺钉(9)用于拧动至与所述第二安装槽的侧壁相抵,以调节所述下刀模(4)与第二安装槽侧壁之间的间隙。
说明书:
技术领域
本实用新型涉及钢板网加工技术领域,特别涉及一种钢板网机可调节刀模组件。
背景技术
目前,传统的钢板网机在生产过程中需要对刀模进行调节,具体是调节上、下刀模之间的间隙。常规的调节方式为:在刀模和刀座间垫纸或垫塞尺片。该方式操作简单、方便、易掌握、刀模加工成本低。但是,此种方式存在以下的缺陷:
1、调节时需停机,不能在连续生产时边冲边调,且在停机调好再冲网时易断,调节效力低;
2、不能无级精细调节,调节质量差;
3、刀模易受振动、冲击和温度影响而变形,造成冲网加工时不稳定,这是传统钢板网机一直解决不了的通病;
4、不良品率高,产品品控难,质量参差不齐,生产成本高。
基于目前现状,急需要研发一种高效、精准、稳定、易操作的可调节刀模结构。
实用新型内容
本实用新型所要解决的技术问题是提供一种钢板网机可调节刀模组件,有效的克服了现有技术的缺陷。
本实用新型解决上述技术问题的技术方案如下:
一种钢板网机可调节刀模组件,包括上刀架、长方体型的上刀模、下刀模座和长方体型的下刀模,上述上刀架和下刀模座分别装于钢板网机上,且上述上刀架位于上述下刀模座的上方,上述上刀模设置于上述上刀架的前侧,上述下刀模设置于上述下刀模座的前侧,上述上刀架的前侧下部设有沿左右方向延伸并与上述上刀模适配的第一安装槽,上述上刀模横向竖直设置,并通过第一间隙微调组件装于上述第一安装槽中,上述上刀模上端通过第一高度微调组件与上述上刀架连接,上述第一高度微调组件用于调节上述上刀模与上述上刀架的前后间隙,上述下刀模座的前侧上部设有沿左右方向延伸并与上述下刀模适配的第二安装槽,上述下刀架上安装有用于向上顶起上述下刀模的第一微调组件,上述下刀模通过压紧调节组件与上述下刀架连接。
在上述技术方案的基础上,本实用新型还可以做如下改进。
进一步,上述第一间隙微调组件包括多个上刀模压紧螺丝,上述上刀模上沿左右方向间隔开有多个前后贯穿其的第一调节孔,上述第一调节孔为竖向延伸的条形孔,上述第一安装槽侧壁设有多个与上述上刀模压紧螺丝一一对应的第一螺孔,多个上述上刀模压紧螺丝分别一一对应的穿过多个上述第一调节孔,并与对应的上述第一螺孔螺纹连接。
进一步,上述第一高度微调组件包括多个竖向设置的上刀模调节螺杆,上述第一安装槽的顶壁沿左右方向间隔设有多个与上述上刀模调节螺杆一一对应的第二螺孔,上述上刀模调节螺杆的下端分别设有嵌合块,上述上刀模调节螺杆上端与对应的上述第二螺孔螺纹连接,上述上刀模的上端沿左右方向设有多个前后贯穿其的限位槽,多个上述嵌合块分别一一对应的嵌入多个上述限位槽中,且可相对于上述限位槽前后移动,从而配合上述第一间隙微调组件调节上述上刀模与第一安装槽侧壁之间的间隙,上述上刀模调节螺杆上设有用于带动其旋转的扭力传递件。
进一步,上述限位槽为燕尾槽,相应的上述嵌合块为燕尾形块状构件。
进一步,上述下刀模座的前侧突出设有沿左右方向延伸的安装块,上述安装块与上述下刀模座的前侧上部之间构成上述第二安装槽。
进一步,上述第一微调组件包括多个下刀模调节螺杆,上述安装块中竖向设有多个沿左右方向间隔分布的第三螺孔,多个上述下刀模调节螺杆分别自下而上一一对应的贯穿多个上述第三螺孔,并与上述第三螺孔螺纹连接,上述下刀模调节螺杆的下端设有第二锁紧螺母,上述第二锁紧螺母用于拧动至与上述安装块下端相抵或分离。
进一步,上述压紧调节组件包括多个下刀模压紧螺丝,上述第二安装槽的侧壁上沿左右方向间隔设有多个第四螺孔,上述下刀模上沿左右方向间隔设有多个前后贯穿其的安装通孔,多个上述下刀模压紧螺丝分别沿前后方向一一对应的贯穿多个上述安装通孔,并分别一一对应的与上述第四螺孔螺纹连接,上述安装通孔前端设为锥形,上述下刀模压紧螺丝的后端设有锥状的嵌合部,上述嵌合部嵌入上述安装通孔的前端。
进一步,上述下刀模沿左右方向间隔设有多个前后贯穿其的第五螺孔,上述第五螺孔中分别一一对应的装有与其螺纹连接的紧定螺钉,上述紧定螺钉用于拧动至与上述第二安装槽的侧壁相抵,以调节上述下刀模与第二安装槽侧壁之间的间隙。
本实用新型的有益效果是:结构设计合理,能够在线调节上、下刀模之间的间隙与直线度,简单、方便、快捷且大大提高了生产效力,实现了无级精准调节,即能控制网面的平整度,又能调节网孔短截距,能有效控制刀模在生产过程中因振动、冲击、温度影响而变形。
附图说明
图1为本实用新型的钢板网机可调节刀模组件的装配侧视图;
图2为本实用新型的钢板网机可调节刀模组件的装配前视图;
图3为本实用新型的钢板网机可调节刀模组件的装配立体图;
图4为本实用新型的钢板网机可调节刀模组件的结构爆炸图;
图5为本实用新型的钢板网机可调节刀模组件中上刀模的结构图;
图6为本实用新型的钢板网机可调节刀模组件中下刀模的结构图;
图7为本实用新型的钢板网机可调节刀模组件的下刀模中的安装通孔的结构示意图;
图8为本实用新型的钢板网机可调节刀模组件中上刀模调节螺杆的结构示意图;
图9为本实用新型的钢板网机可调节刀模组件中下刀模压紧螺丝的结构示意图。
附图中,各标号所代表的部件列表如下:
1、上刀架;2、上刀模;3、下刀模座;4、下刀模;5、第一间隙微调组件;6、第一高度微调组件;7、第一微调组件;8、压紧调节组件;9、紧定螺钉;21、第一调节孔;22、限位槽;51、上刀模压紧螺丝;61、上刀模调节螺杆;71、下刀模调节螺杆;81、下刀模压紧螺丝;411、安装通孔;612、扭力传递件;711、第二锁紧螺母。
具体实施方式
以下结合附图对本实用新型的原理和特征进行描述,所举实例只用于解释本实用新型,并非用于限定本实用新型的范围。
实施例:如图1至7所示,本实施例的钢板网机可调节刀模组件包括上刀架1、长方体型的上刀模2、下刀模座3和长方体型的下刀模4,上述上刀架1和下刀模座3分别装于钢板网机上,且上述上刀架1位于上述下刀模座3的上方,上述上刀模2设置于上述上刀架1的前侧,上述下刀模4设置于上述下刀模座3的前侧,上述上刀架1的前侧下部设有沿左右方向延伸并与上述上刀模2适配的第一安装槽,上述上刀模2横向竖直设置,并通过第一间隙微调组件5装于上述第一安装槽中,上述上刀模2上端通过第一高度微调组件6与上述上刀架1连接,上述第一高度微调组件6用于调节上述上刀模2与上述上刀架1的前后间隙,上述下刀模座3的前侧上部设有沿左右方向延伸并与上述下刀模4适配的第二安装槽,上述下刀模座3上安装有用于向上顶起上述下刀模4的第一微调组件7,上述下刀模4通过压紧调节组件8与上述下刀模座3连接。
本实施例的钢板网机可调节刀模组件在调节过程中,通过第一高度微调组件6能够微调微调上刀模2在第一安装槽中的上下位置变化,通过第一间隙微调组件5能够微调上刀模2在第一安装槽中的前后位置变化,在微调前后间距的时候配合第一高度微调组件6,实现间接的精确调节及保持,此外,通过第一微调组件7能够向上(局部或全部)顶起下刀模4,并且,当向上调节第一微调组件7时,下刀模4相应部分向上弯曲,反之向下复位,直至调到所冲钢板网平整度及网孔短截距达到要求,配合压紧调节组件8的压紧(锁紧),使下刀模4和下刀模座3之间形成自锁,确保下刀模4在加工钢板网时不会因受振动、冲击和温度影响而弯曲变形。
本实施例的钢板网机可调节刀模组件具有以下优点:
1)实现了在机器不停机的状态下一边生产一边调节,简单、方便、快捷且大大提高了生产效力。
2)实现了无级精准调节,即能控制网面的平整度,又能调节网孔短截距。
3)能有效控制刀模在生产过程中因振动、冲击、温度影响而变形。解决了钢板网机长期一直解决不了的通病。
4)可不停机断网的情况下,调节上、下刀模之间的间隙与直线度,更有效的提高了产品质量和生产效力。
作为一种优选的实施方式,上述第一间隙微调组件5包括多个上刀模压紧螺丝51,上述上刀模2上沿左右方向间隔开有多个前后贯穿其的第一调节孔21,上述第一调节孔21为竖向延伸的条形孔,上述第一安装槽侧壁设有多个与上述上刀模压紧螺丝51一一对应的第一螺孔,多个上述上刀模压紧螺丝51分别一一对应的穿过多个上述第一调节孔21,并与对应的上述第一螺孔螺纹连接。
上述实施方案中,通过拧紧或松动上刀模压紧螺丝51来调节上刀模2与第一安装槽侧壁的紧密程度来微调上刀模2的间隙(前后间隙),操作比较简单、方便。
作为一种优选的实施方式,上述第一高度微调组件6包括多个竖向设置的上刀模调节螺杆61,上述第一安装槽的顶壁沿左右方向间隔设有多个与上述上刀模调节螺杆61一一对应的第二螺孔,上述上刀模调节螺杆61的下端分别设有嵌合块(图中b指代,如图8所示),上述上刀模调节螺杆61上端与对应的上述第二螺孔螺纹连接,上述上刀模2的上端沿左右方向设有多个前后贯穿其的限位槽22,多个上述嵌合块分别一一对应的嵌入多个上述限位槽22中,且可相对于上述限位槽22前后移动,从而配合上述第一间隙微调组件5调节上述上刀模2与第一安装槽侧壁之间的间隙,上述上刀模调节螺杆61上设有用于带动其旋转的扭力传递件612。
上述实施方案中,当向上调节上刀模调节螺杆61时,具体的,可以通过工具驱动扭力传递件612旋转,从而带动上刀模调节螺杆61旋进,并相对于上刀架1上下移动,从而使得上刀模2相应部分向上弯曲,反之上刀模2向下弯,直至调到所冲钢板网平整度及网孔短截距达到要求,调节好后通过上刀模压紧螺丝51压紧固定住即可。需要注意的是:调节上刀模调节螺杆61时应尽量相邻的有向上、有向下调节,使上刀模调节螺杆61、上刀模2和上刀架1之间形成自锁。确保上刀模2在加工钢板网时不会因受振动、冲击和温度影响而弯曲变形。
需要补充说明的是:在微调上刀模2的高度的同时,由于第一调节孔21设置为条形孔(也就是一字孔),因此,该条形孔的设计在调节高度及间隙的过程中,能够允许上刀模压紧螺丝51在第一调节孔21中上下移动,尤其是大幅度调节高度的视乎,第一调节孔21的设计就比较合理,易于调节。
本实施例中,上述限位槽22为倒T形的槽,相应的上述嵌合块为扁平状的块状构件,嵌合块限位于倒T形的槽内不会上下方向脱离,随着上刀模调节螺杆61的旋进即可调节。
本实施例中,上述下刀模座3的前侧突出设有沿左右方向延伸的安装块,上述安装块与上述下刀模座3的前侧上部之间构成上述第二安装槽。
作为一种优选的实施方式,上述第一微调组件7包括多个下刀模调节螺杆71,上述安装块中竖向设有多个沿左右方向间隔分布的第三螺孔,多个上述下刀模调节螺杆71分别自下而上一一对应的贯穿多个上述第三螺孔,并与上述第三螺孔螺纹连接,上述下刀模调节螺杆71的下端设有第二锁紧螺母711,上述第二锁紧螺母711用于拧动至与上述安装块下端相抵或分离。
上述实施方案中,当向上调节下刀模调节螺杆71时,下刀模4相应部分向上弯曲,反之向下复位,直至调到所冲钢板网平整度及网孔短截距达到要求。下刀模4安装时由下刀模调节螺杆71微微顶起,在配合压紧调节组件8锁紧时,使得下刀模4相应部位向下弯曲,反之向上复,直至所调到所冲钢板网平整度及网孔短截距达到要求。
作为一种优选的实施方式,上述压紧调节组件8包括多个下刀模压紧螺丝81,上述第二安装槽的侧壁上沿左右方向间隔设有多个第四螺孔,上述下刀模4上沿左右方向间隔设有多个前后贯穿其的安装通孔411,多个上述下刀模压紧螺丝81分别沿前后方向一一对应的贯穿多个上述安装通孔411,并分别一一对应的与上述第四螺孔螺纹连接,上述安装通孔411前端设为锥形,上述下刀模压紧螺丝81的后端设有锥状的嵌合部,上述嵌合部嵌入上述安装通孔411的前端,该结构设计比较合理,能够利用嵌合部与安装通孔411前端锥形的契合,从而使得下刀模4局部向下拉动弯曲,通过多个压紧调节组件8的共同调节,即可实现在冲网时,对所冲钢板网平整度的有效调节。
上述实施方案中,下刀模4上设置有前端为锥形的安装通孔411,下刀模压紧螺丝81设置有相应的锥形的嵌合部(图中a指代),安装通孔411的前端锥孔部位吻合成锲块结构。当下刀模4安装时由下刀模调节螺杆71微微顶起,使下刀模4的锥孔略高于下刀模座3的安装通孔411,当下刀模压紧螺丝81锁紧时,下刀模4即可在嵌合部嵌入安装通孔411后被带动至相应部位向下弯曲。从而实现钢板网平整度及网孔短截距的调节,操作非常简单、快捷、方便。
作为一种优选的实施方式,上述下刀模4沿左右方向间隔设有多个前后贯穿其的第五螺孔,上述第五螺孔中分别一一对应的装有与其螺纹连接的紧定螺钉9,上述紧定螺钉9用于拧动至与上述第二安装槽的侧壁相抵,以调节上述下刀模4与第二安装槽侧壁之间的间隙。
上述实施方案中,通过拧动紧定螺钉9至与第二安装槽相抵,可以反向推动下刀模4,从而实现下刀模4与第二安装槽的侧壁之间的间隙调节,操作非常简单、方便。
在本实用新型的描述中,需要理解的是,术语“中心”、“纵向”、“横向”、“长度”、“宽度”、“厚度”、“上”、“下”、“前”、“后”、“左”、“右”、“竖直”、“水平”、“顶”、“底”“内”、“外”、“顺时针”、“逆时针”、“轴向”、“径向”、“周向”等指示的方位或位置关系为基于附图所示的方位或位置关系,仅是为了便于描述本实用新型和简化描述,而不是指示或暗示所指的装置或元件必须具有特定的方位、以特定的方位构造和操作,因此不能理解为对本实用新型的限制。
此外,术语“第一”、“第二”仅用于描述目的,而不能理解为指示或暗示相对重要性或者隐含指明所指示的技术特征的数量。由此,限定有“第一”、“第二”的特征可以明示或者隐含地包括至少一个该特征。在本实用新型的描述中,“多个”的含义是至少两个,例如两个,三个等,除非另有明确具体的限定。
在本实用新型中,除非另有明确的规定和限定,术语“安装”、“相连”、“连接”、“固定”等术语应做广义理解,例如,可以是固定连接,也可以是可拆卸连接,或成一体;可以是机械连接,也可以是电连接;可以是直接相连,也可以通过中间媒介间接相连,可以是两个元件内部的连通或两个元件的相互作用关系,除非另有明确的限定。对于本领域的普通技术人员而言,可以根据具体情况理解上述术语在本实用新型中的具体含义。
在本实用新型中,除非另有明确的规定和限定,第一特征在第二特征“上”或“下”可以是第一和第二特征直接接触,或第一和第二特征通过中间媒介间接接触。而且,第一特征在第二特征“之上”、“上方”和“上面”可是第一特征在第二特征正上方或斜上方,或仅仅表示第一特征水平高度高于第二特征。第一特征在第二特征“之下”、“下方”和“下面”可以是第一特征在第二特征正下方或斜下方,或仅仅表示第一特征水平高度小于第二特征。
在本说明书的描述中,参考术语“一个实施例”、“一些实施例”、“示例”、“具体示例”、或“一些示例”等的描述意指结合该实施例或示例描述的具体特征、结构、材料或者特点包含于本实用新型的至少一个实施例或示例中。在本说明书中,对上述术语的示意性表述不必须针对的是相同的实施例或示例。而且,描述的具体特征、结构、材料或者特点可以在任一个或多个实施例或示例中以合适的方式结合。此外,在不相互矛盾的情况下,本领域的技术人员可以将本说明书中描述的不同实施例或示例以及不同实施例或示例的特征进行结合和组合。
尽管上面已经示出和描述了本实用新型的实施例,可以理解的是,上述实施例是示例性的,不能理解为对本实用新型的限制,本领域的普通技术人员在本实用新型的范围内可以对上述实施例进行变化、修改、替换和变型。
摘要附图


